Sublere mecanice
Sublere digitale
Sublere cu cadran
Sublere speciale
Accesorii sublere
Micrometre mecanice
Micrometre digitale
Micrometre speciale
Accesorii micrometre
Comparatoare Mecanice
Comparatoare Digitale
Accesorii Comparatoare
Palpatoare rapide mecanice
Palpatoare rapide digitale
Verificatoare de alezaje
Dispozitive de masurare inaltime
Rigle profesionale
Circometre
Compasuri profesionale
Echere vincluri profesionale
Raportoare profesionale
Nivele de precizie
Lere
Calibre
Benzi grosime
Cale etalon
Pini cilindrici de masurare
Mese de control planeitate
Dispozitive de control
Ampermetre
Multimetre
Tahometre
Durometre
Grosimetre
Rugozimetre
Tester acoperiri
Tester aderenta
Umidometre
Luxmetre
Sonometre
Anemometre
Termometre Higrometre
Refractometre
Vizualizatoare cote
Detectoare
Dispozitive de centrare
Bancuri de centrare
Dornuri de centrare
Roti randalinare
Suporti prismatici
Suporti montaj
Menghine de precizie
Dispozitive de filetat
Port tarod si filiere
Chei dinamometrice
Bai cu ultrasunete
Echipamente de protectie
Accesorii masini unelte
Burghie pentru metal
Burghie pentru beton
Burghie pentru lemn
Gravare si prelucrare
Priboaie si Dornuri
Poansoane si sabloane
Ace de trasat si punctatoare
Markere Creioane Creta
Cuttere
Cantare industriale
Greutati cantarire
Dinamometre
Lampi si lanterne
Lupe
Video inspectie si proiectoare
Microscoape industriale
Binocluri
Telemetre, lasermetre, marcatoare laser
Nivele si raportoare
Planimetre, curbimetre, cartografie
Busole
Roti de masura
Contoare
Cronometre
Accesorii topografie
Accesorii zidarie si tamplarie
Rulete
Metre
Nivelmetre de apa
Pentru a adauga produsul in cos adaugati Termen de executie: 10 - 15 zile
Selectati cel putin 0 optiuni
Durata de livrare: 1-2 zile lucratoare
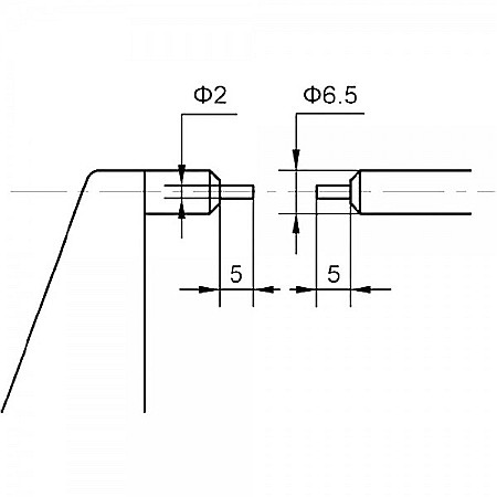
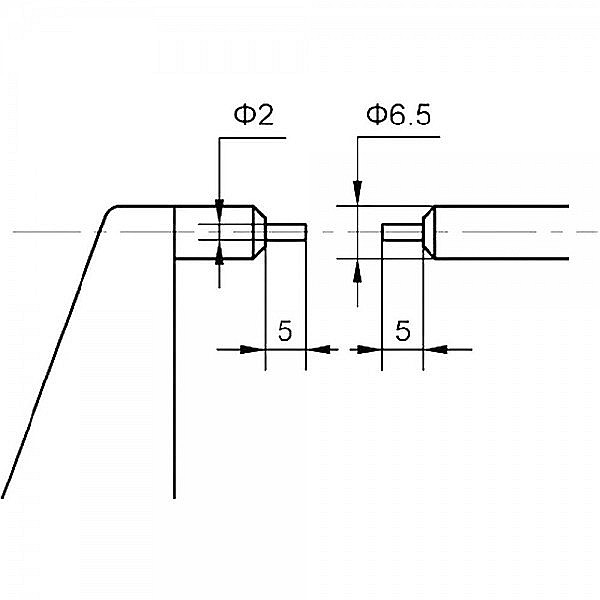
Micrometru mecanic de exterior cu palpatoare fine, pentru uz profesional. Ideal pentru masuratori pe piese sau parti de piese mici.
Click aici pentru gama completa de micrometre speciale.
Momentan, informatiile despre siguranta produsului nu sunt disponibile.
Momentan, informatiile despre producator nu sunt disponibile.
Denumire: Universal Diffusion S.A.S.
Adresa: 2 Rue Roland Moreno, 17200 Saint-Sulpice-de-Royan, Franta
Email: info@feku-francemetrologie.com
Domeniu (mm): 0 - 25
Citire (mm): 0.01
Tip masurare: Exterior
Amplasament: O70005
Ultimele produse vizualizate
Newsletter Nu rata ofertele si promotiile noastre
Compara produse
Trebuie sa mai adaugi cel putin un produs pentru a compara produse.
A fost adaugat la favorite!
A fost sters din favorite!